账户凭证
租户管理员及其指定人员可以通过此模块,对其账户凭证进行管理。
账户凭证管理包括账户凭证的添加、更新、删除、状态启用/禁用。
账户管理
添加账户
点击账户凭证列表左上角的 「+添加账户」 按钮,选择 「添加账户」,即可进入账户添加流程。
设置账户标识;
设置账户名称;
设置账户密码;
设置备注,可选填;
选择可接收到账户凭证的人员,若打开全局值,表示当前租户下的所有人员,都可以接收到账户凭证;若关闭全局值,则可选择指定的人员接收账户凭证;
点击确认,完成新增。
启用/禁用账户
点击账户凭证状态栏下的 「启用」 图标,即可对已有账户,进行启用/禁用操作。
启用状态指该账户凭证在配置权限内可被调用;
禁用状态指该账户凭证在配置权限内不可被调用。
更新账户
点击账户凭证操作栏下的 「更新」 字样,即可对已有账户,进行更新操作,支持更新账户的账户标识、账户名称、账户密码、备注、接收人员。
删除账户
点击账户凭证操作栏下的 「删除」 字样,即可对已有账户,进行删除操作。
账户凭证详情
任意点击列表中的账户凭证,即可查看账户凭证详情,包括账户凭证信息和使用记录;
注:非自己创建的账户凭证无法直接查看账户密码
账户凭证信息中展示项为:账户凭证、账户名称、账户密码、所属组、人员范围、备注、状态、创建者。
使用记录中展示项为:使用者、使用方式、使用时间、任务ID。

①支持通过使用方式进行筛选,可选择全部、使用、更新;
②支持输入账户标识、使用者和任务ID进行搜索。
账户组管理
添加账户组
点击账户凭证列表左上角的 「+添加账户」 按钮,选择 「添加组」,即可进入账户组添加流程。
设置账户标识;
设置备注,可选填;
选择可接收到账户凭证的人员,若打开全局值,表示当前租户下的所有人员,都可以使用该资产组下账户凭证;若关闭全局值,则需要选择人员进行授权查看使用;
点击确认,完成新增。
启用/禁用账户组
点击账户组状态栏下的 「启用」 图标,即可对已有账户组,进行启用/禁用操作。
启用账户组,即批量启用该组下的所有账户凭证,组下账户凭证在配置权限内可被调用;
禁用账户组,即批量禁用该组下的所有账户凭证,组下账户凭证在配置权限内不可被调用。
注:禁用账户组后,也可对组下账户凭证进行更新、删除、移入、移出操作。
更新账户组
点击账户组操作栏下的 「更新」 字样,即可对已有账户组,进行更新操作,支持更新账户组的账户标识、备注、人员范围。
删除账户组
点击账户组操作栏下的 「删除」 字样,即可对已有账户组,进行删除操作。
注:删除时也会删除账户组下的所有账户凭证。
移入账户组
点击账户凭证操作栏下的 「移入账户组」 字样,即可将已有账户凭证移动到目标账户组中。
账户组下的账户管理
左键双击账户组,即可跳转至组内,对组下的账户凭证进行启用/禁用、更新、删除、移出账户组操作。
账户组详情
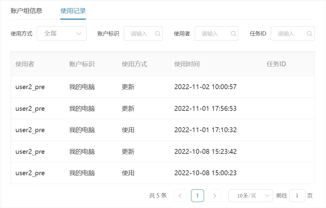
单击列表中的账户组,即可查看账户组详情,包括账户组信息和使用记录。
注:账户组详情中,记录的是账户组下账户凭证的使用记录。
账户组信息中展示项为:账户组标识、账户数量、人员范围、备注、状态、创建者。
使用记录中展示项为:使用者、账户标识、使用方式、使用时间、任务ID。

①支持通过使用方式进行筛选,可选择全部、使用、更新;
②支持输入账户标识、使用者和任务ID进行搜索。
账户/账户组查询
用户可以在界面右上角的搜索栏中,输入账户/账户组名称来查询目标账户/账户组。
导入文件
点击账户凭证列表左上角的 「导入文件」 按钮,即可打开文件导入窗口;
注:上传前请先下载文件模板,按照模板要求将内容录入到模板中。
使用账户凭证
租户管理员及其指定的人员可以在在活动组件控制台分类内使用账户凭证相关活动,分别是获取账户凭证资产和更新账户凭证资产,如图所示: